Number on scheme #1 (Whirlpool WTW5321SQ0): 9
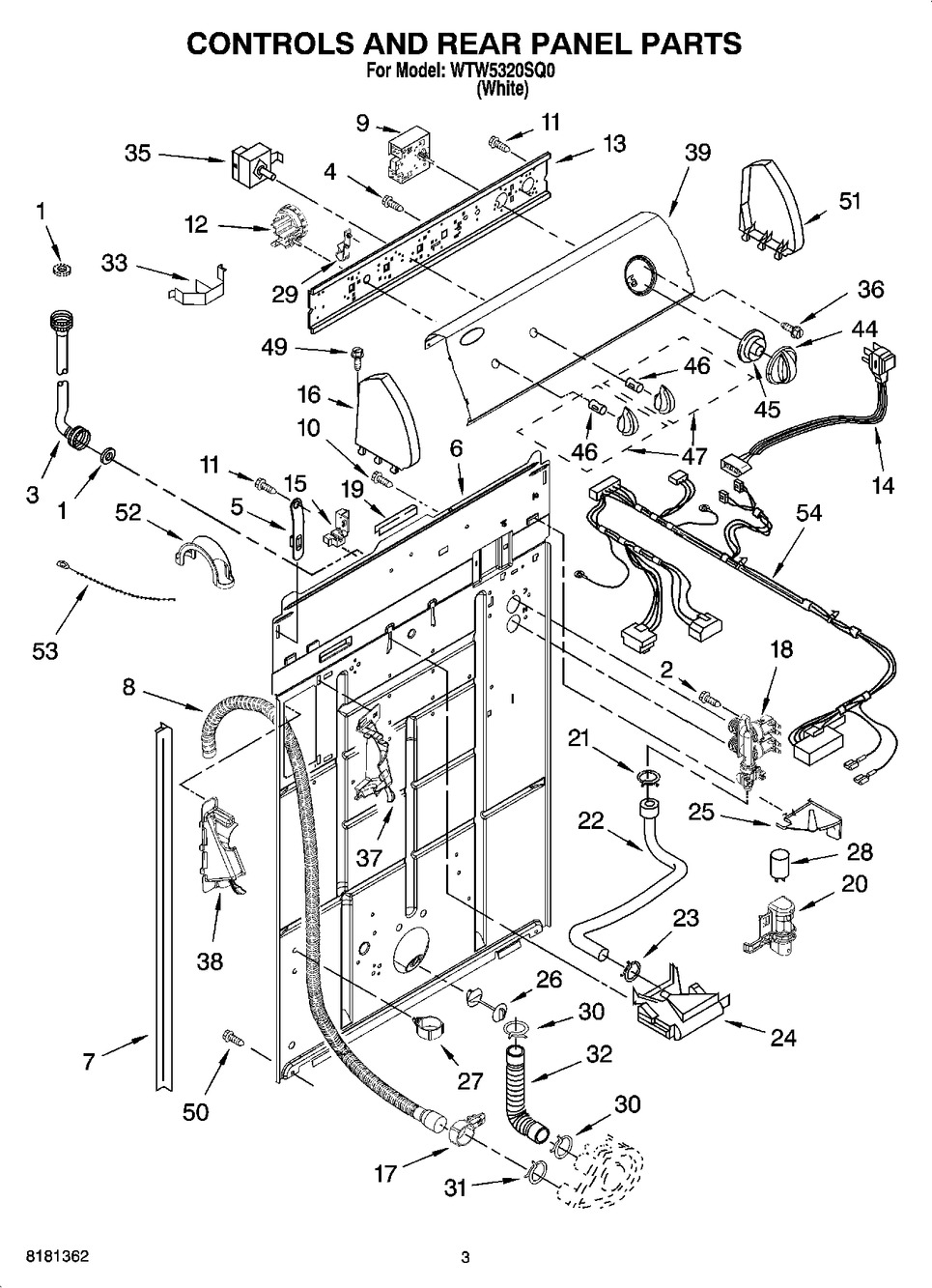
Number on scheme #2 (Whirlpool WTW5320SQ0): 9
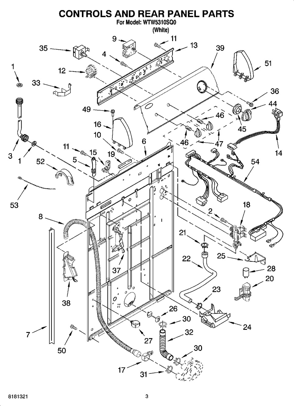
Number on scheme #3 (Whirlpool WTW5310SQ0): 9
Number on scheme #2 (Whirlpool WTW5320SQ0): 9
Number on scheme #3 (Whirlpool WTW5310SQ0): 9
Old Part Numbers: 8579446





