Number on scheme #1 (Whirlpool 2DLSQ8000JQ4): 9
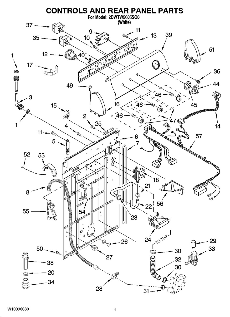
Number on scheme #2 (Whirlpool 2DWTW5605SQ0): 9
Number on scheme #3 (Whirlpool 2DLSQ8000JQ3): 9
Number on scheme #2 (Whirlpool 2DWTW5605SQ0): 9
Number on scheme #3 (Whirlpool 2DLSQ8000JQ3): 9
Old Part Numbers: 3954726










