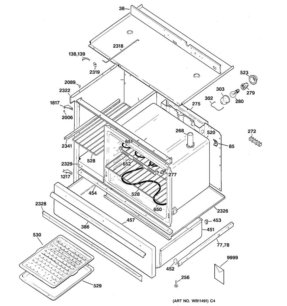
Number on scheme #1 (GE JCS57Y5WW): 386
Number on scheme #2 (GE JCS57Y3WW): 386
Number on scheme #2 (GE JCS57Y3WW): 386




| Applicable to | GE JCS57Y4WW, GE JCS57Y3WW, GE JCS57Y5WW |
|---|
Get access to your Orders, Wishlist and Recommendations.
Your personal data will be used to support your experience throughout this website, to manage access to your account, and for other purposes described in our privacy policy.