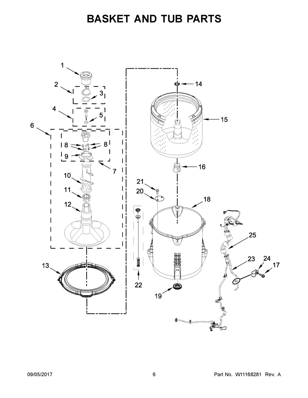
Number on scheme #1 (Whirlpool WTW4816FW1): 25
Number on scheme #2 (Whirlpool WTW4715EW2): 6
Number on scheme #3 (Whirlpool WTW4816FW2): 25
Number on scheme #2 (Whirlpool WTW4715EW2): 6
Number on scheme #3 (Whirlpool WTW4816FW2): 25
Old Part Numbers: W10736239








