W10354023

Out of Stock
Estimated Delivery:
29 March - 02 April
Guaranteed Safe Checkout Trues Badge
SKU: W10354023 Category:
Description
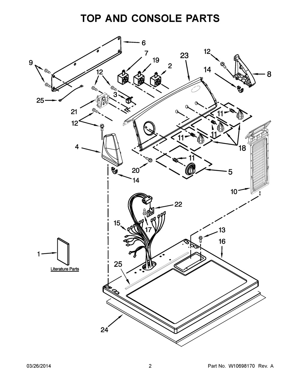
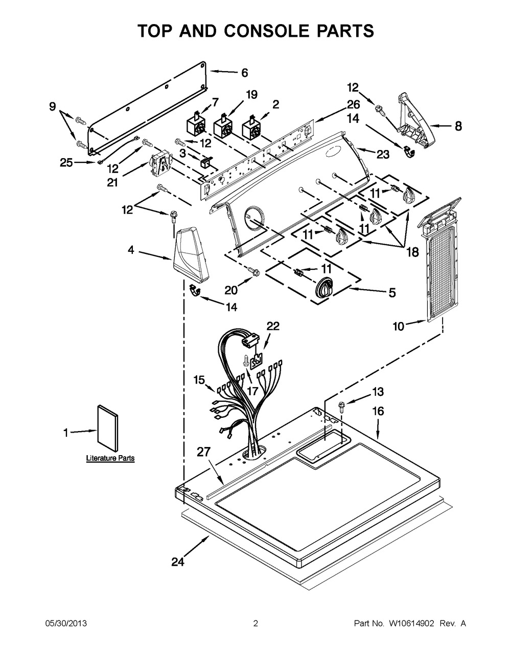
Number on scheme #1 (Whirlpool 7MWGD1730YW0): 23
Number on scheme #2 (Maytag 7MWGD1730YW3): 23
Number on scheme #3 (Whirlpool 7MWGD1730YW4): 23

Additional information
Applicable to

Whirlpool 7MWGD1730YW0, Maytag 7MWGD1730YW3, Whirlpool 7MWGD1730YW4, Whirlpool 7MWGD1730YW5, Maytag 7MWGD1730YW1

Recently Viewed

Close

Shopping Cart

Close

Shopping cart is empty!

Continue Shopping