Number on scheme #1 (Whirlpool RF4900XLW0): 28
Number on scheme #2 (Whirlpool DU8016XX0):
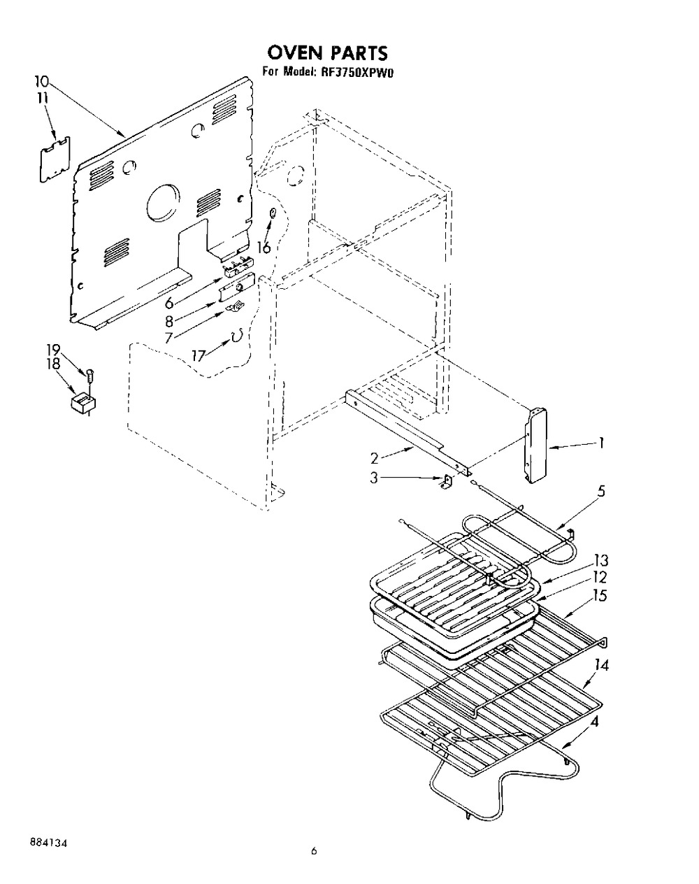
Number on scheme #3 (Whirlpool RF3750XPW0): 19
Number on scheme #2 (Whirlpool DU8016XX0):
Number on scheme #3 (Whirlpool RF3750XPW0): 19






$677.43
| Applicable to | Whirlpool RF4900XLW0, Whirlpool DU8016XX0, Whirlpool RF3750XPW0 |
|---|
Get access to your Orders, Wishlist and Recommendations.
Your personal data will be used to support your experience throughout this website, to manage access to your account, and for other purposes described in our privacy policy.