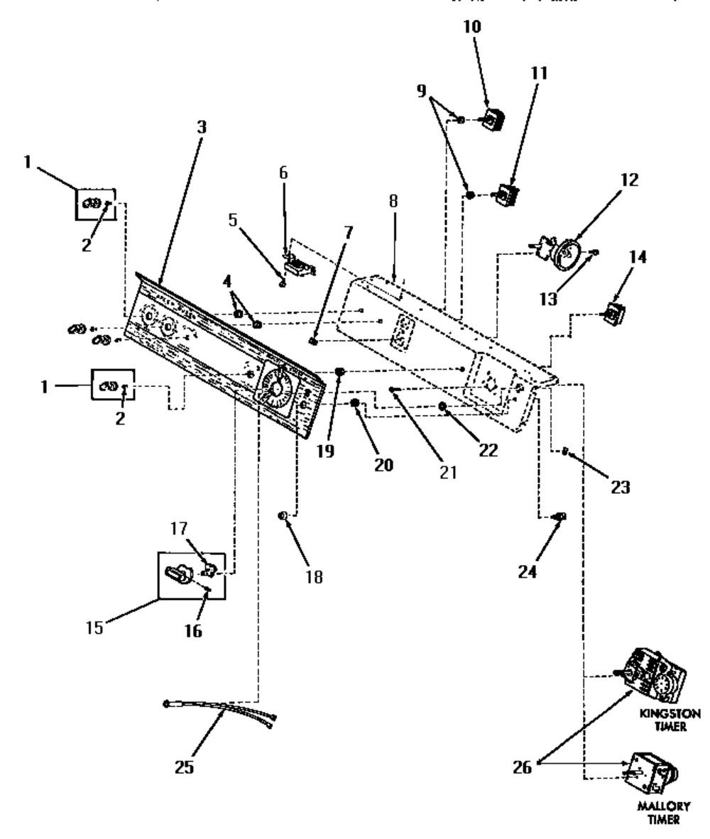
Number on scheme #1 (Maytag DA9043): 3
Number on scheme #2 (Maytag DA9103): 3
Number on scheme #2 (Maytag DA9103): 3




$679.19
| Applicable to | Maytag DA9043, Maytag DA9103, Maytag FA9103 |
|---|
Get access to your Orders, Wishlist and Recommendations.
Your personal data will be used to support your experience throughout this website, to manage access to your account, and for other purposes described in our privacy policy.