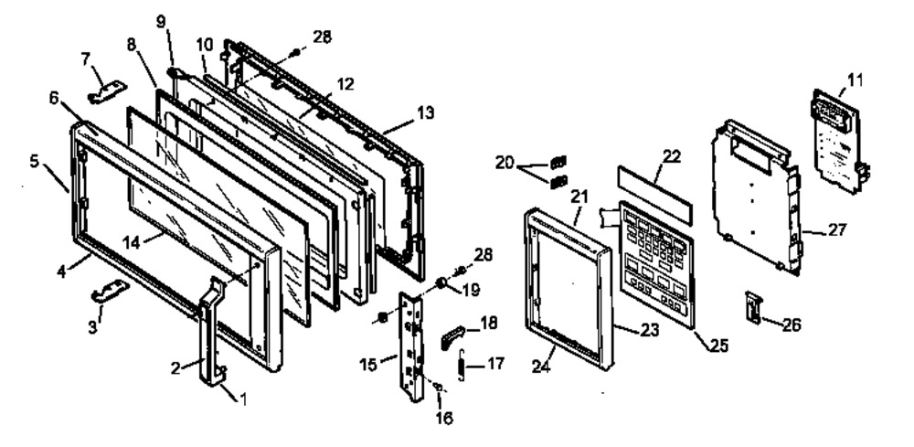
Number on scheme #1 (Maytag MVH210W1 (BOM: P1173502M)): 27
Number on scheme #2 (Maytag MVH210W (BOM: P1184201M)): 14
Number on scheme #3 (Maytag MVH200W1 (BOM: P1119103M)): 7
Number on scheme #2 (Maytag MVH210W (BOM: P1184201M)): 14
Number on scheme #3 (Maytag MVH200W1 (BOM: P1119103M)): 7








