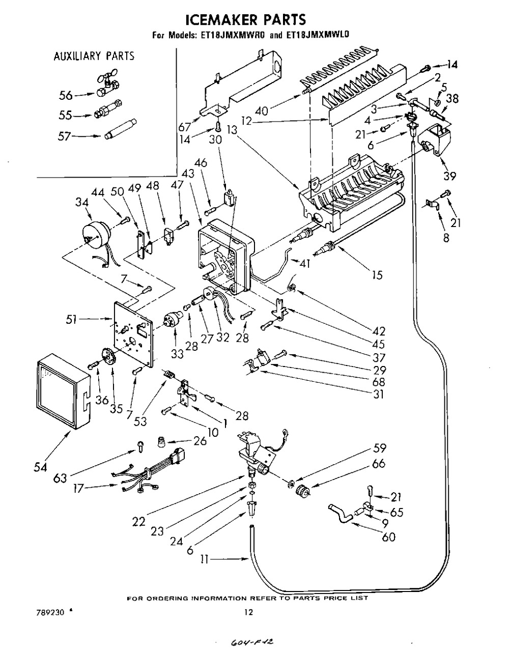
Number on scheme #1 (Whirlpool ET18JMXMWR6):
Number on scheme #2 (Whirlpool ET18JMXMWR9):
Number on scheme #3 (Whirlpool ET18JMXMWR0):
Number on scheme #2 (Whirlpool ET18JMXMWR9):
Number on scheme #3 (Whirlpool ET18JMXMWR0):






| Applicable to | Whirlpool ET18JMXMWR0, Whirlpool ET18JMXMWR9, Whirlpool ET18JMXMWR6 |
|---|
Get access to your Orders, Wishlist and Recommendations.
Your personal data will be used to support your experience throughout this website, to manage access to your account, and for other purposes described in our privacy policy.