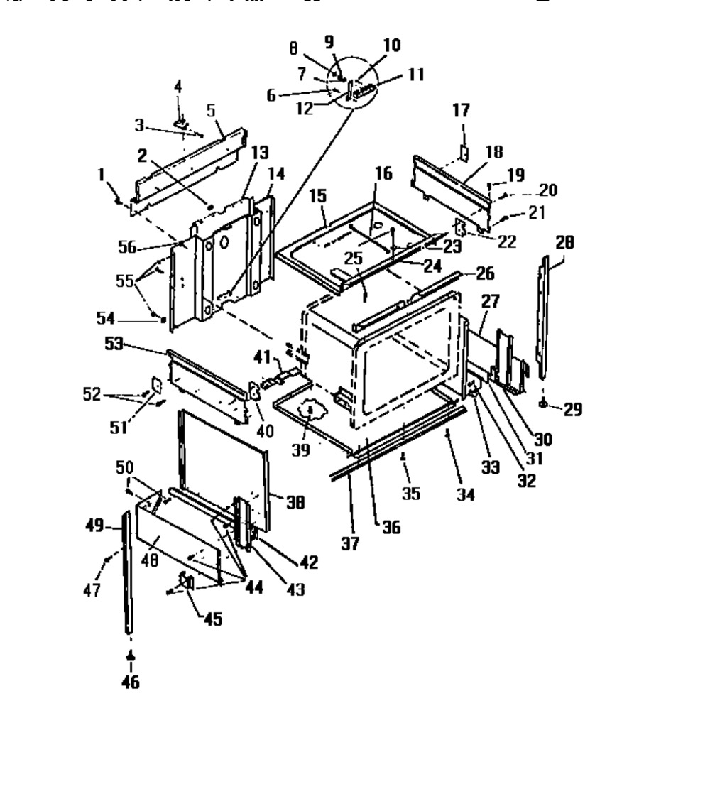
Number on scheme #1 (Frigidaire KS970GKD1): 36
Number on scheme #2 (Frigidaire KS220GDD1): 45
Number on scheme #2 (Frigidaire KS220GDD1): 45




| Applicable to | Frigidaire KS860GDK1, Frigidaire KS860GDW1, Frigidaire KS970GKD1, Frigidaire KS860GDD1, Frigidaire KS220GDH1, Frigidaire KS220GDW1, Frigidaire KS220GDV1, Frigidaire KS220GDD1, Frigidaire KS220GDF1 |
|---|
Get access to your Orders, Wishlist and Recommendations.
Your personal data will be used to support your experience throughout this website, to manage access to your account, and for other purposes described in our privacy policy.