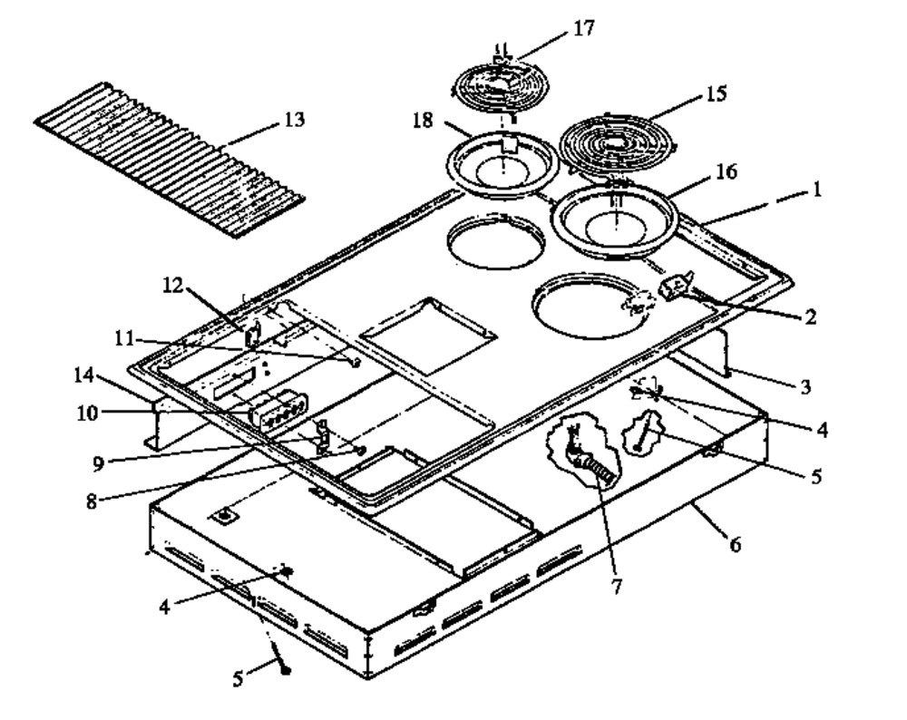
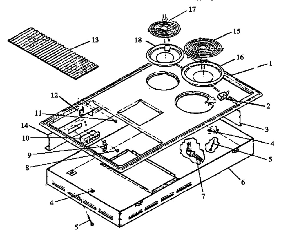
Number on scheme #1 (Maytag FET270): 1
Number on scheme #2 (Maytag AKDE5WW (BOM: P1131742W W)): 1
Number on scheme #3 (Maytag AKDE5WW (BOM: P1131742NWW)): 1
Number on scheme #2 (Maytag AKDE5WW (BOM: P1131742W W)): 1
Number on scheme #3 (Maytag AKDE5WW (BOM: P1131742NWW)): 1








