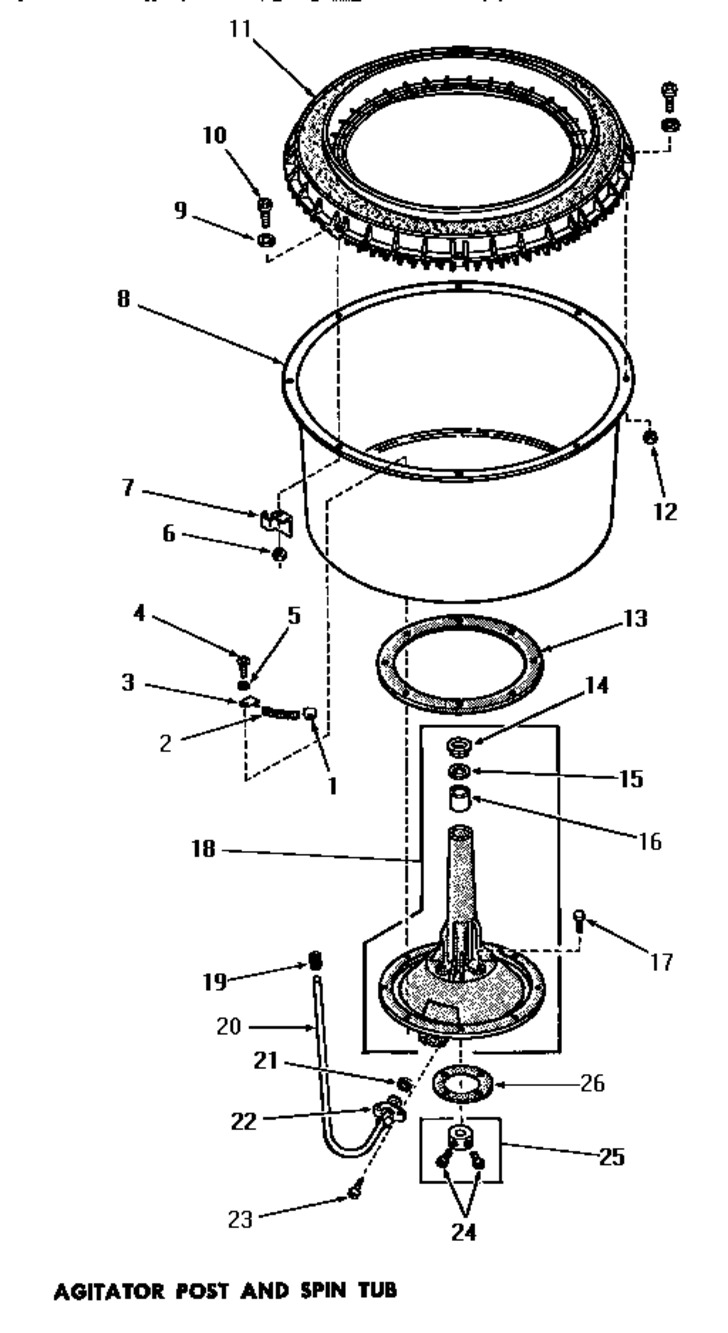
Number on scheme #3 (Maytag DA3080): 8




22382
Number on scheme #3 (Maytag DA3080): 8
| Applicable to | Maytag DA3000, Maytag DA3001, Maytag DA3080, Maytag DA3100, Maytag DA3101, Maytag DA3201, Maytag DA3210, Maytag DA3211, Maytag DA3500, Maytag DA3501, Maytag DA3660, Maytag DA3661, Maytag DA3690, Maytag DA3691, Maytag DA3780, Maytag DA3781, Maytag DA6070, Maytag DA6071, Maytag DA6073, Maytag DA6100, Maytag DA6101, Maytag DA6111, Maytag DA6191, Maytag DA6200, Maytag DA6201, Maytag DA6221, Maytag DA6223, Maytag DA6250, Maytag DA6251, Maytag DA9000, Maytag DA9011, Maytag DA9041, Maytag DA9043, Maytag FA2001, Maytag FA3201, Maytag FA3591, Maytag FA4101, Maytag FA4161, Maytag FA4321, Maytag FA6201 |
|---|





