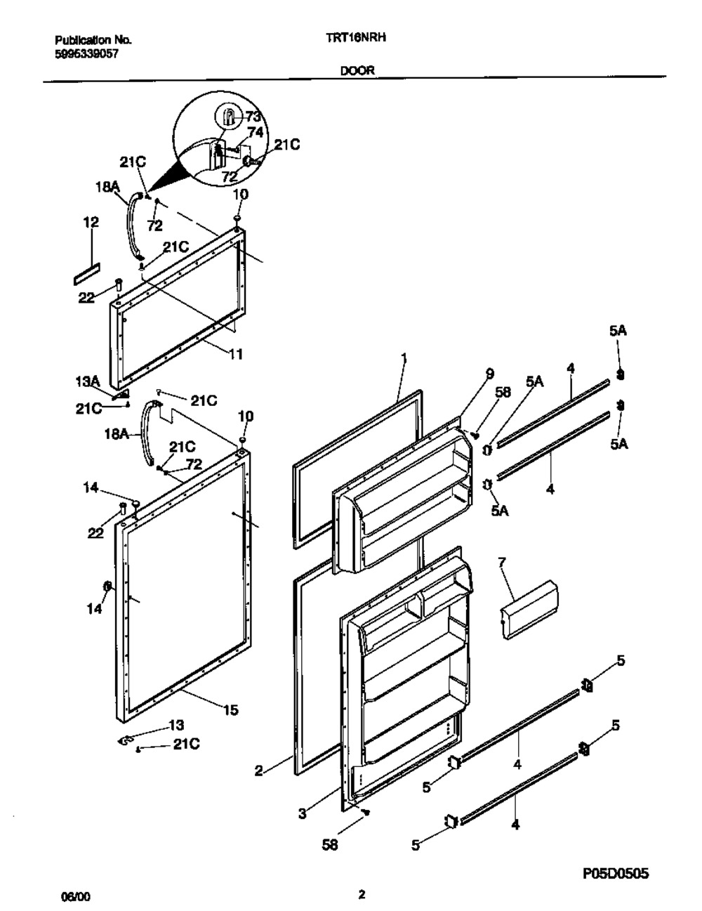
Number on scheme #1 (Frigidaire TRT16NRHD0): *93801
Number on scheme #2 (Frigidaire TRT16NRHD2): 12
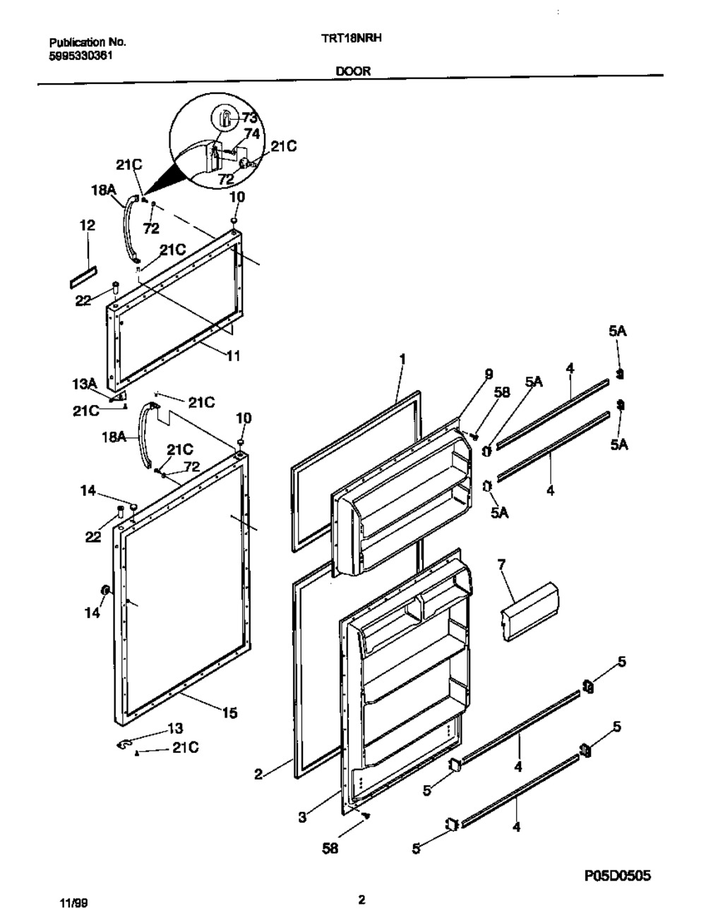
Number on scheme #3 (Frigidaire TRT18NRHD1): *30320
Number on scheme #2 (Frigidaire TRT16NRHD2): 12
Number on scheme #3 (Frigidaire TRT18NRHD1): *30320








