Number on scheme #1 (Whirlpool RM275PXK0): 23
Number on scheme #2 (Whirlpool RM278PXK0): 23
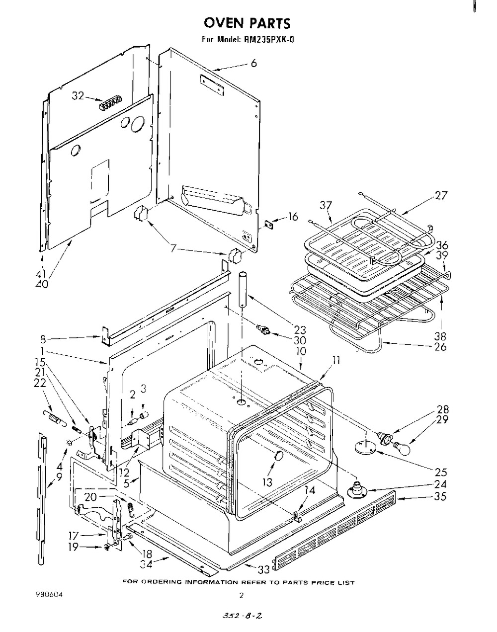
Number on scheme #3 (Whirlpool RM235PXK0): 23
Number on scheme #2 (Whirlpool RM278PXK0): 23
Number on scheme #3 (Whirlpool RM235PXK0): 23
Old Part Numbers: F34WW/SS/ECO 311691







